
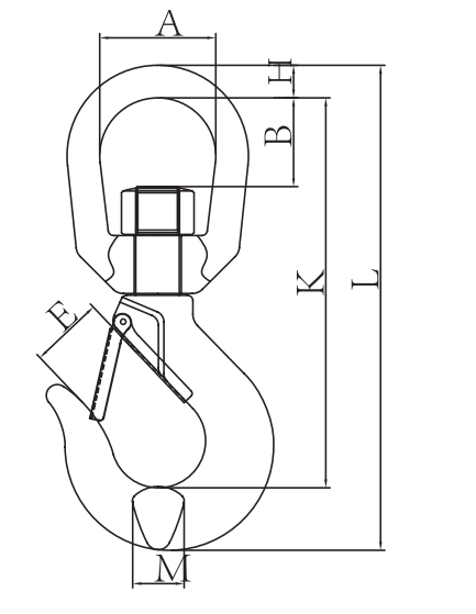
WLL(T) | A±1 | E±2 | B±2 | H±0.6 | K±3 | L±3 | M±1 |
0.75 | 31.5 | 17 | 22.5 | 9 | 110 | 137 | 15 |
1 | 32 | 17 | 22.5 | 9 | 108.3 | 137 | 16 |
1.5 | 37.5 | 22.5 | 29.5 | 12 | 133.5 | 163.5 | 16 |
2 | 42.5 | 26 | 33 | 15.8 | 150.5 | 192 | 17.5 |
3 | 42.5 | 26 | 33 | 15.8 | 163 | 209 | 23 |
5 | 48 | 32.5 | 39 | 18 | 191 | 246 | 31 |
7 | 64 | 43 | 53 | 25 | 243.5 | 313 | 34 |
11 | 70 | 49.5 | 53 | 28.5 | 277 | 364 | 41.5 |
15 | 79 | 54.5 | 62 | 32 | 332 | 431 | 55.7 |
22 | 105 | 81 | 108 | 40 | 427 | 543 | 70 |
30 | 105 | 100 | 96 | 40 | 465.3 | 596 | 76.2 |